HAR825~925
XMC
HAR825~925
| 保证耐压力: | |
|---|---|
| 最高使用压力: | |
| 环境温度: | |
| 调压范围: | |
| 阀型: | |
| 状态: | |
HA 系列气源处理元件
▌HAR825~925 大口径减压阀(Heavy Calibre Regulator,R)
符号
外形尺寸图 (mm)
![]() | |
| HAR825~925 |
尺寸表 (mm)
| 型号 | 口径(G) | A | B | C | D | E | F |
| HAR825 | 11/2 | φ126 | 216 | 75 | 110 | 90.5 | 5 |
| HAR925 | 2 | φ160 | 242 | 90 | 140 | 105.5 | 10 |
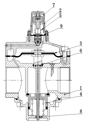
结构简图、零件表
![]() | 序号 | 名 称 | 材料 | |
| HAR825~925 | ||||
| 1 | 阀体 | 铝压铸件 | ||
| 2 | 阀盖 | 铝压铸件 | ||
| 3 | 膜片 | 橡胶 | ||
| 4 | 阀芯 | 黄铜、橡胶 | ||
| 5 | 弹簧 | 不锈钢 | ||
| 6 | O形圈 | 橡胶 | ||
| 7 | 手轮 | 增强尼龙 | ||
| 8 | O形圈 | 橡胶 | ||
| 9 | 小膜片 | 橡胶 | ||
特性
HA系列大口径元件包括空气过滤器、减压阀、油雾器,HAR825~925的接口螺纹是从G11/2~G2,满足市面上主气源管路(及大型气动系统装置)上的应用。另外,此款产品在过滤器放水装置处安装一快插接头,用户可以在此处直接接入塑料管,将过滤器产生的污水排放到指定位置,起到保护现场环境的作用;并且此款产品防护罩的目视孔加有1至2条加强横档,即大大增加了油水杯的安全性,还起到了油/水量的刻度作用。
规格
| 保证耐压力 /Ensured Pressure Resistance | 1.5MPa (15kgf/cm2) |
| 最高使用压力 /Maximum Working Pressure | 1.0MPa (10kgf/cm2) |
| 环境及流体温度 /Ambient and Fluid Temperature | 5~60℃ |
| 调压范围 /Pressure Regulating Range | HAR825~925: 0.05~0.85MPa (0.5~8.5kgf/cm2) |
| 阀型 /Valve Type | 带溢流型/With Overflow |
选型表
| 型 号 | 规 格 | 配 件 | ||||
注1) 额定流量(L/min) | 注2) 接管口径(G) | 压力表口径(G) | 重 量(kg) | 托 架 | 压力表 | |
| HAR825-14 | 18000 | 11/2 | 1/4 | 2.5 | 无 | G40-10-02 |
| HAR925-20 | 22000 | 2 | 1/4 | 3.1 | 无 | |
注1)供应压力为0.7MPa (7.1kgf/cm2) 设定压力为0.5MPa (5.1kgf/cm2) 的情况下。
注2)接管口径另有Rc、NPT螺纹可供选择。
订购码
HA 系列气源处理元件
▌HAR825~925 大口径减压阀(Heavy Calibre Regulator,R)
符号
外形尺寸图 (mm)
![]() | |
| HAR825~925 |
尺寸表 (mm)
| 型号 | 口径(G) | A | B | C | D | E | F |
| HAR825 | 11/2 | φ126 | 216 | 75 | 110 | 90.5 | 5 |
| HAR925 | 2 | φ160 | 242 | 90 | 140 | 105.5 | 10 |
结构简图、零件表
![]() | 序号 | 名 称 | 材料 | |
| HAR825~925 | ||||
| 1 | 阀体 | 铝压铸件 | ||
| 2 | 阀盖 | 铝压铸件 | ||
| 3 | 膜片 | 橡胶 | ||
| 4 | 阀芯 | 黄铜、橡胶 | ||
| 5 | 弹簧 | 不锈钢 | ||
| 6 | O形圈 | 橡胶 | ||
| 7 | 手轮 | 增强尼龙 | ||
| 8 | O形圈 | 橡胶 | ||
| 9 | 小膜片 | 橡胶 | ||
特性
HA系列大口径元件包括空气过滤器、减压阀、油雾器,HAR825~925的接口螺纹是从G11/2~G2,满足市面上主气源管路(及大型气动系统装置)上的应用。另外,此款产品在过滤器放水装置处安装一快插接头,用户可以在此处直接接入塑料管,将过滤器产生的污水排放到指定位置,起到保护现场环境的作用;并且此款产品防护罩的目视孔加有1至2条加强横档,即大大增加了油水杯的安全性,还起到了油/水量的刻度作用。
规格
| 保证耐压力 /Ensured Pressure Resistance | 1.5MPa (15kgf/cm2) |
| 最高使用压力 /Maximum Working Pressure | 1.0MPa (10kgf/cm2) |
| 环境及流体温度 /Ambient and Fluid Temperature | 5~60℃ |
| 调压范围 /Pressure Regulating Range | HAR825~925: 0.05~0.85MPa (0.5~8.5kgf/cm2) |
| 阀型 /Valve Type | 带溢流型/With Overflow |
选型表
| 型 号 | 规 格 | 配 件 | ||||
注1) 额定流量(L/min) | 注2) 接管口径(G) | 压力表口径(G) | 重 量(kg) | 托 架 | 压力表 | |
| HAR825-14 | 18000 | 11/2 | 1/4 | 2.5 | 无 | G40-10-02 |
| HAR925-20 | 22000 | 2 | 1/4 | 3.1 | 无 | |
注1)供应压力为0.7MPa (7.1kgf/cm2) 设定压力为0.5MPa (5.1kgf/cm2) 的情况下。
注2)接管口径另有Rc、NPT螺纹可供选择。
订购码
